UID774885
威望393
金钱26619
交易诚信度0
主题117
帖子16180
注册时间2011-2-12
最后登录2026-5-6
版主

  
交易诚信度0
注册时间2011-2-12
|

楼主 |
发表于 2026-1-10 17:40
|
显示全部楼层
权利要求:
1.一种扬声器,其特征在于,包括外壳、以及连接于所述外壳的磁路系统和振动系统,所述磁路系统具有磁间隙,所述振动系统包括:
第一振膜,具有处在第一方向上的第一侧以及第二侧,所述第一振膜的外周侧与所述外壳连接,所述第一振膜的第一侧为第一出声空间;
音圈,设于所述第一振膜的第二侧且与所述第一振膜连接,所述音圈至少部分置于所述磁间隙;
中间隔膜,呈环状设置且位于所述第一振膜的第二侧,所述中间隔膜的外周侧与所述外壳连接;
第二振膜,呈环状设置且位于所述中间隔膜远离所述第一振膜的一侧,所述第二振膜包括第二折环以及第二振动板,所述第二折环的外周侧与所述外壳连接,所述第二振动板包括连接所述第二折环的内周侧的主体部、以及连接所述主体部与所述中间隔膜的内周侧的弯折部,且所述中间隔膜与所述第二振膜之间限定出第二出声腔,所述外壳上开设有第二出声孔,所述第二出声孔连通所述第二出声腔;以及,刚性连接件,连接在所述第二振膜和所述音圈之间且位于所述音圈远离所述第一振膜的一端;
其中,所述外壳包括在第一方向上相对设置的第一壳体和第二壳体;
所述第一振膜的外周侧和所述中间隔膜的外周侧均固定于所述第一壳体,所述磁路系统固定于所述第二壳体,所述第二振膜的外周侧夹设于所述第一壳体与所述第二壳体之间,所述第二出声孔开设于所述第一壳体。
2.如权利要求1所述的扬声器,其特征在于,所述第一壳体包括:
主体段,呈环形设置;以及,弯折段,位于所述主体段背离所述第二壳体的一端且朝向所述主体段的内侧延伸,所述第一振膜的外周侧与所述中间隔膜的外周侧固定于所述弯折段远离所述主体段的一端;
其中,所述第二出声孔设于所述主体段或者所述弯折段。
3.如权利要求2所述的扬声器,其特征在于,所述第二出声孔设于所述主体段,所述第一振膜的外周侧与所述中间隔膜的外周侧固定于所述弯折段远离所述主体段的一端的两侧或者所述中间隔膜的外周侧夹设于所述第一振膜的外周侧和所述弯折段之间;或者,所述第二出声孔设于所述弯折段,所述第一壳体还包括与所述弯折段远离所述主体段的一端连接的连接框,所述第一振膜的外周侧连接于所述连接框的一端,所述中间隔膜的外周侧连接于所述连接框的另一端或者所述弯折段。
4.如权利要求1所述的扬声器,其特征在于,所述中间隔膜为柔性件:
所述中间隔膜的有效振动面积小于所述第二振膜的有效振动面积;
在沿所述第一方向的投影中,所述中间隔膜的形变部的宽度大于等于所述第二折环的形变部的宽度;
所述第一振膜包括第一折环和第一振动板,所述第一折环的外边缘与所述外壳连接,所述第一折环的内边缘与所述第一振动板连接,所述第二折环的顺性和所述第一折环的顺性均小于所述中间隔膜的顺性。
5.如权利要求1所述的扬声器,其特征在于,所述磁路系统包括:
磁轭;
中心磁体,设于所述磁轭上;以及,外围磁体,设于所述磁轭上且位于所述中心磁体的外围,且所述外围磁体与所述中心磁体之间限定出所述磁间隙;
其中,所述外围磁体设置有供所述刚性连接件穿设的让位孔,且所述磁轭对应于所述刚性连接件的位置开设有避让槽。
6.如权利要求5所述的扬声器,其特征在于,所述第二壳体呈环状设置,且围设于所述磁轭;
所述第二壳体为金属壳体,所述磁轭和所述第二壳体一体成型;所述第一壳体和所述第二壳体为金属壳体,所述磁轭和所述第二壳体一体成型,所述第一壳体和所述第二壳体之间焊接连接。
7.如权利要求1所述的扬声器,其特征在于,所述弯折部包括与所述第一方向呈夹角设置的倾斜段,所述倾斜段与所述主体部连接;
所述第一振膜的外周侧设有与所述第一壳体连接的第一翻边;
所述第二振膜的外周侧设有与所述第一壳体连接的第二翻边。
8.如权利要求1所述的扬声器,其特征在于,所述中间隔膜的形变部朝向所述第二振膜凸出设置,所述第二折环的形变部朝向所述第一振膜凸出设置,所述中间隔膜的形变部与所述第二折环的形变部在第二方向上错位设置,所述第二方向垂直于所述第一方向。
9.如权利要求1所述的扬声器,其特征在于,所述第一壳体与所述第一振膜的第一侧之间限定所述第一出声空间;所述第一壳体与所述第一振膜的第一侧对应的一端呈开口设置。
10.一种电子设备,其特征在于,包括:
腔体,开设有电子设备出声孔;以及扬声器,为如权利要求1至9任一项所述的扬声器,所述第一出声空间与所述第二出声腔均与所述电子设备出声孔连通,所述第一振膜与所述中间隔膜之间限定出第一后出声腔,所述第二振膜背离所述中间隔膜的一侧限定第二后出声腔,所述第一后出声腔以及所述第二后出声腔连通,所述扬声器设有后出声通道,所述第一后出声腔以及所述第二后出声腔通过所述后出声通道与所述腔体连通,且所述腔体的有效容积≥2.5cc。
说明书:
扬声器以及电子设备
技术领域
本实用新型涉及扬声器结构技术领域,特别涉及一种扬声器以及电子设备。
背景技术
随着消费电子产业的迅猛发展,人们对电子产品的要求不断提升,除产品本身性能差异外,其便携性、舒适性为人们重点关注的几个方面,目前常规扬声器方案难以同时兼顾高性能、轻薄化等多种设计要求,且在设计满足该设计要求时,如何利用固有结构提升上述效果,也是较为重要的结构设计环节。
实用新型内容
本实用新型的主要目的是提出一种扬声器以及电子设备,旨在提供一种小尺寸高性能的扬声器外壳结构。
为实现上述目的,本实用新型提出一种扬声器,其中,所述扬声器包括外壳、以及连接于所述外壳内的磁路系统和振动系统,所述磁路系统具有磁间隙,所述振动系统包括:
第一振膜,具有处在第一方向上的第一侧以及第二侧,所述第一振膜的外周侧与所述外壳连接,所述第一振膜的第一侧为第一出声空间;
音圈,设于所述第一振膜的第二侧且与所述第一振膜连接,所述音圈至少部分置于所述磁间隙;
中间隔膜,呈环状设置且位于所述第一振膜的第二侧,所述中间隔膜的外周侧与所述外壳连接;
第二振膜,呈环状设置且位于所述中间隔膜远离所述第一振膜的一侧,所述第二振膜包括第二折环以及第二振动板,所述第二折环的外周侧与所述外壳连接,所述第二振动板包括连接所述第二折环的内周侧的主体部、以及连接所述主体部与所述中间隔膜的内周侧的弯折部,且所述中间隔膜与所述第二振膜之间限定出第二出声腔,所述外壳上开设有第二出声孔,所述第二出声孔连通所述第二出声腔;以及,
刚性连接件,连接在所述第二振膜和所述音圈之间且位于所述音圈远离所述第一振膜的一端;
其中,所述外壳包括在第一方向上相对设置的第一壳体和第二壳体;
所述第一振膜的外周侧和所述中间隔膜的外周侧均固定于所述第一壳体,所述磁路系统固定于所述第二壳体,所述第二振膜的外周侧夹设于所述第一壳体与所述第二壳体之间,所述第二出声孔开设于所述第一壳体。
在一实施方式中,所述第一壳体包括:
主体段,呈环形设置;以及,弯折段,位于所述主体段背离所述第二壳体的一端且朝向所述主体段的内侧延伸,所述第一振膜的外周侧与所述中间隔膜的外周侧固定于所述弯折段远离所述主体段的一端;
其中,所述第二出声孔设于所述主体段或者所述弯折段。
在一实施方式中,所述第二出声孔设于所述主体段,所述第一振膜的外周侧与所述中间隔膜的外周侧固定于所述弯折段远离所述主体段的一端的两侧或者所述中间隔膜的外周侧夹设于所述第一振膜的外周侧和所述弯折段之间;或者,
所述第二出声孔设于所述弯折段,所述第一壳体还包括与所述弯折段远离所述主体段的一端连接的连接框,所述第一振膜的外周侧连接于所述连接框的一端,所述中间隔膜的外周侧连接于所述连接框的另一端或者所述弯折段。
在一实施方式中,所述中间隔膜为柔性件;
所述中间隔膜的有效振动面积小于所述第二振膜的有效振动面积;和/或,
在沿所述第一方向的投影中,所述中间隔膜的形变部的宽度大于等于所述第二折环的形变部的宽度;和/或,
所述第一振膜包括第一折环和第一振动板,所述第一折环的外边缘与所述外壳连接,所述第一折环的内边缘与所述第一振动板连接,所述第二折环的顺性和所述第一折环的顺性均小于所述中间隔膜的顺性。
在一实施方式中,所述磁路系统包括:
磁轭;
中心磁体,设于所述磁轭上;以及,
外围磁体,设于所述磁轭上且位于所述中心磁体的外围,且所述外围磁体与所述中心磁体之间限定出所述磁间隙;
其中,所述外围磁体设置有供所述刚性连接件穿设的让位孔,且所述磁轭对应于所述刚性连接件的位置开设有避让槽。
在一实施方式中,所述第二壳体呈环状设置,且围设于所述磁轭;或者,
所述第二壳体为金属壳体,所述磁轭和所述第二壳体一体成型;或者,
所述第一壳体和所述第二壳体为金属壳体,所述磁轭和所述第二壳体一体成型,所述第一壳体和所述第二壳体之间焊接连接。
在一实施方式中,所述弯折部包括与所述第一方向呈夹角设置的倾斜段,所述倾斜段与所述主体部连接;和/或,
所述第一振膜的外周侧设有与所述第一壳体连接的第一翻边;和/或,
所述第二振膜的外周侧设有与所述第一壳体连接的第二翻边。
在一实施方式中,所述中间隔膜的形变部朝向所述第二振膜凸出设置,所述第二折环的形变部朝向所述第一振膜凸出设置,所述中间折环的形变部与所述第二折环的形变部在第二方向上错位设置,所述第二方向垂直于所述第一方向。
在一实施方式中,所述第一壳体与所述第一振膜的第一侧之间限定所述第一出声空间;或者,
所述第一壳体与所述第一振膜的第一侧对应的一端呈开口设置。
本实用新型还提出一种电子设备,其中,所述电子设备包括:
腔体,开设有电子设备出声孔;以及,扬声器,所述扬声器包括外壳、以及设于所述外壳内的磁路系统和振动系统,所述磁路系统具有磁间隙,所述振动系统包括第一振膜、音圈、中间隔膜、第二振膜以及刚性连接件,所述第一振膜具有处在第一方向上的第一侧以及第二侧,所述第一振膜的外周侧与所述外壳连接,所述第一振膜的第一侧为第一出声空间;所述音圈设于所述第一振膜的第二侧且与所述第一振膜连接,所述音圈至少部分置于所述磁间隙;所述中间隔膜呈环状设置且位于所述第一振膜的第二侧,所述中间隔膜的外周侧与所述外壳连接;所述第二振膜呈环状设置且位于所述中间隔膜远离所述第一振膜的一侧,所述第二振膜包括第二折环以及第二振动板,所述第二折环的外周侧与所述外壳连接,所述第二振动板包括连接所述第二折环的内周侧的主体部、以及连接所述主体部与所述中间隔膜的内周侧的弯折部,且所述中间隔膜与所述第二振膜之间限定出第二出声腔,所述外壳上开设有第二出声孔,所述第二出声孔连通所述第二出声腔;所述刚性连接件连接在所述第二振膜和所述音圈之间且位于所述音圈远离所述第一振膜的一端;其中,所述外壳包括在第一方向上相对设置的第一壳体和第二壳体;所述第一振膜的外周侧和所述中间隔膜的外周侧均固定于所述第一壳体,所述磁路系统固定于所述第二壳体,所述第二振膜的外周侧夹设于所述第一壳体与所述第二壳体之间,所述第二出声孔开设于所述第一壳体,所述第一出声空间与所述第二出声腔均与所述电子设备出声孔连通,所述第一振膜与所述中间隔膜之间限定出第一后出声腔,所述第二振膜背离所述中间隔膜的一侧限定第二后出声腔,所述第一后出声腔以及所述第二后出声腔连通,所述扬声器设有后出声通道,所述第一后出声腔以及所述第二后出声腔通过所述后出声通道与所述腔体连通,且所述腔体的有效容积≥2.5cc。
本实用新型的技术方案中,在常规所述扬声器基础上增加所述中间隔膜及所述第二振膜,且由所述中间隔膜与所述第二振膜限定出所述第二出声腔,旨在通过所述音圈带动所述第二振膜振动,进而改变所述第二出声腔的体积,以推动空气振动,发出声音,如此得以利用所述音圈带动所述第一振膜推动所述第一出声空间内空气振动,同时带动所述第二振膜推动所述第二出声腔内空气振动,增加了所述扬声器的有效振动面积,以此提升所述扬声器性能。在此基础上,所述外壳包括在第一方向上相对设置的第一壳体和第二壳体;所述第一振膜的外周侧固定于所述第一壳体,所述磁路系统固定于所述第二壳体,所述第二振膜的外周侧夹设于所述第一壳体与所述第二壳体之间,所述中间隔膜的外周侧固定于所述第一壳体,所述第二出声孔开设于所述第一壳体。所述外壳的结构组成主要以实际生产组装需求为主,可以是多个壳体部件组合而成,也可以是一体成型的整体式壳体,本申请中,将所述外壳分解成所述第一壳体与所述第二壳体,具体地,所述磁路系统固定于所述第二壳体,而所述第一振膜、所述中间隔膜固定于所述第一壳体,以此使得与所述第一振膜连接的所述音圈以及与所述中间隔膜连接的所述第二振膜也固定于所述第一壳体,如此,在组装生产过程中,便于在所述第一壳体内安装所述第一振膜、所述音圈、所述中间隔膜以及所述第二振膜,同时便于在所述第二壳体内安装所述磁路系统,最后将所述第一壳体与所述第二壳体盖合,控制所述第一壳体与所述第二壳体盖合时夹持固定所述第二折环,即完成所述扬声器整体结构的组装,便于组装操作。在此之外,可以理解的是,所述第一壳体与所述第二壳体的交界处应为所述外壳的最大尺寸处,以此一方面便于所述第一壳体与所述第二壳体的盖合,另一方面使所述第二振膜具有最大尺寸,以获得最大的有效振动面积,满足高性能需求。同时,所述磁路系统设置于所述第二壳体,所述第一振膜、所述中间隔膜以及所述音圈设置于所述第一壳体,且所述第二振膜夹设于所述第一壳体与所述第二壳体,如此设置,此结构在适用于所述第二振膜不同振幅要求的所述扬声器时,仅需调整所述第一壳体以及所述第二壳体的高度,而无需细化调整所述外壳上的安装结构的点位,即在调整其两者高度时,即可调整被夹持的所述第二振膜与所述中间隔膜的距离,以实现适用于不同的所述第二振膜振幅,更具适用性。
附图说明
为了更清楚地说明本实用新型实施例或现有技术中的技术方案,下面将对实施例或现有技术描述中所需要使用的附图作简单地介绍,显而易见地,下面描述中的附图仅仅是本实用新型的一些实施例,对于本领域普通技术人员来讲,在不付出创造性劳动的前提下,还可以根据这些附图示出的结构获得其他的附图。
图1为本实用新型提供的扬声器的第一实施例的爆炸示意图;
图2为图1中扬声器的截面示意图;
图3为图1中扬声器的另一截面示意图;
图4为图1中的扬声器的平面结构示意图;
图5为图1中的扬声器的另一平面结构示意图;
图6为图1中的部分结构的立体结构示意图;
图7为图1中的刚性连接件与弹性支撑件的爆炸示意图;
图8为图1中的刚性连接件与弹性支撑件的装配结构示意图;
图9为图1中的中间隔膜、第二振动板与音圈相对位置关系的一实施例的平面结构示意图;
图10为图9中的中间隔膜的立体结构示意图;
图11为图9中的第二振动板的立体结构示意图;
图12为图1中的中间隔膜、第二振动板与音圈相对位置关系的另一实施例的平面结构示意图;
图13为图12的立体结构示意图;
图14为图13的爆炸示意图;
图15为本实用新型提供的扬声器的第二实施例的截面示意图;
图16为图15中的扬声器的另一截面示意图;
图17为本实用新型提供的电子设备的第一实施例的截面示意简图;
图18为本实用新型提供的扬声器的第三实施例的截面示意图;
图19为本实用新型提供的扬声器的第四实施例的截面示意图;
图20为图19中的扬声器的另一截面示意图;
图21为本实用新型提供的电子设备的第二实施例的截面示意简图。
附图标号说明:
1000、电子设备;100、扬声器;1、磁路系统;1a、磁间隙;11、中心磁体;111、第二凸出部;12、外围磁体;121、扩展部;13、让位孔;14、磁轭;141、避让槽;2、振动系统;21、第一振膜;211、第一折环;212、第一振动板;22、音圈;221、第一凸出部;23、中间隔膜;231、形变部;232、第一延伸部;24、第二振膜;241、第二折环;242、第二振动板;2421、主体部;2422、弯折部;2422a、倾斜段;2423、第二延伸部;25、刚性连接件;3、外壳;31、第一壳体;311、主体段;312、弯折段;313、连接框;32、第二壳体;4a、第一出声空间;4b、第一后出声腔;5、第一出声孔;6a、第二出声腔;6b、第二后出声腔;7、第二出声孔;8、弹性支撑件;81、外固定部;811、第一电连部;82、内固定部;821、第二电连部;83、弹臂;9、连接板;10、壳罩;101、后出声通道;200、腔体;201、电子设备出声孔。
本实用新型目的的实现、功能特点及优点将结合实施例,参照附图做进一步说明。
具体实施方式
下面将结合本实用新型实施例中的附图,对本实用新型实施例中的技术方案进行清楚、完整地描述,显然,所描述的实施例仅仅是本实用新型的一部分实施例,而不是全部的实施例。基于本实用新型中的实施例,本领域普通技术人员在没有作出创造性劳动的前提下所获得的所有其他实施例,都属于本实用新型保护的范围。
需要说明,若本实用新型实施例中有涉及方向性指示(诸如上、下、左、右、前、后……),则该方向性指示仅用于解释在某一特定姿态下各部件之间的相对位置关系、运动情况等,如果该特定姿态发生改变时,则该方向性指示也相应地随之改变。
另外,若本实用新型实施例中有涉及“第一”、“第二”等的描述,则该“第一”、“第二”等的描述仅用于描述目的,而不能理解为指示或暗示其相对重要性或者隐含指明所指示的技术特征的数量。由此,限定有“第一”、“第二”的特征可以明示或者隐含地包括至少一个该特征。另外,若全文中出现的“和/或”或者“及/或”,其含义包括三个并列的方案,以“A和/或B”为例,包括A方案、或B方案、或A和B同时满足的方案。另外,各个实施例之间的技术方案可以相互结合,但是必须是以本领域普通技术人员能够实现为基础,当技术方案的结合出现相互矛盾或无法实现时应当认为这种技术方案的结合不存在,也不在本实用新型要求的保护范围之内。
随着消费电子产业的迅猛发展,人们对电子产品的要求不断提升,除产品本身性能差异外,其便携性、舒适性为人们重点关注的几个方面,目前常规扬声器方案难以同时兼顾高性能、轻薄化等多种设计要求,且在设计满足该设计要求时,如何利用固有结构提升上述效果,也是较为重要的结构设计环节。
鉴于此,本实用新型提出一种扬声器,请参阅图1至图21,为本申请所提出的扬声器的实施例,以下将结合具体的附图对扬声器进行详细说明。
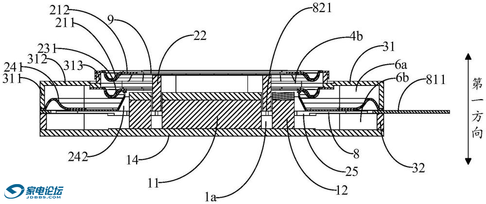
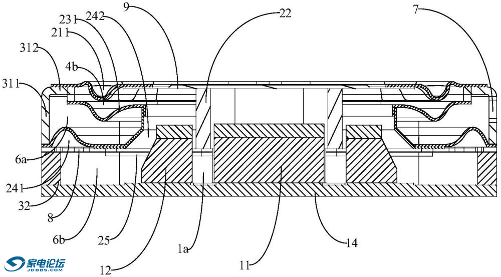
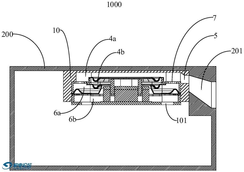
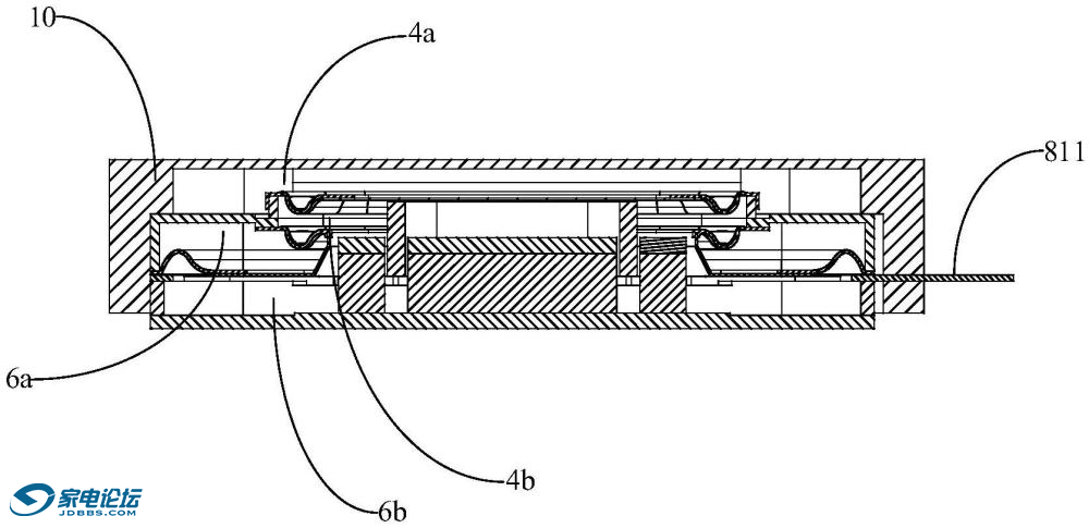
请参阅图1至图4以及图18,扬声器100包括外壳3、以及设于外壳3内的磁路系统1和振动系统2,磁路系统1具有磁间隙1a,振动系统2包括第一振膜21、音圈22、中间隔膜23、第二振膜24以及刚性连接件25,第一振膜21具有处在第一方向上的第一侧以及第二侧,第一振膜21的外周侧与外壳3连接,第一振膜21的第一侧为第一出声空间4a;音圈22设于第一振膜21的第二侧且与第一振膜21连接,音圈22至少部分置于磁间隙1a;中间隔膜23呈环状设置且位于第一振膜21的第二侧,中间隔膜23的外周侧与外壳3连接;第二振膜24呈环状设置且位于中间隔膜23远离第一振膜21的一侧,第二振膜24包括第二折环241以及第二振动板242,第二折环241的外周侧与外壳3连接,第二振动板242包括连接第二折环241的内周侧的主体部2411、以及连接主体部2411与中间隔膜的内周侧的弯折部2412,且中间隔膜23与第二振膜24之间限定出第二出声腔6a,外壳3上开设有第二出声孔7,第二出声孔7连通第二出声腔6a;刚性连接件25连接在第二振膜24和音圈22之间且位于音圈22远离第一振膜21的一端;外壳3包括在第一方向上相对设置的第一壳体31和第二壳体32;第一振膜21的外周侧和中间隔膜23的外周侧均固定于第一壳体31,磁路系统1固定于第二壳体32,第二振膜24的外周侧夹设于第一壳体31与第二壳体32之间,第二出声孔7开设于第一壳体31。
本实用新型的技术方案中,在常规扬声器100基础上增加中间隔膜23及第二振膜24,且由中间隔膜23与第二振膜24限定出第二出声腔6a,旨在通过音圈22带动第二振膜24振动,进而改变第二出声腔6a的体积,以推动空气振动,发出声音,如此得以利用音圈22带动第一振膜21推动第一出声空间4a内空气振动,同时带动第二振膜24推动第二出声腔6a内空气振动,增加了扬声器100的有效振动面积,以此提升扬声器100性能。在此基础上,外壳3的结构组成主要以实际生产组装需求为主,可以是多个壳体部件组合而成,也可以是一体成型的整体式壳体,本实施例中,将外壳3分解成第一壳体31与第二壳体32,具体地,磁路系统1固定于第二壳体32,而第一振膜21、中间隔膜23固定于第一壳体31,以此使得与第一振膜21连接的音圈22以及与中间隔膜23连接的第二振膜24也固定于第一壳体31,如此,在组装生产过程中,便于在第一壳体31内安装第一振膜21、音圈22、中间隔膜23以及第二振膜24,同时便于在第二壳体32内安装磁路系统1,最后将第一壳体31与第二壳体32盖合,控制第一壳体31与第二壳体32盖合时夹持固定第二折环241,即完成扬声器100整体结构的组装,便于组装操作。在此之外,可以理解的是,第一壳体31与第二壳体32的交界处应为外壳3的最大尺寸处,以此一方面便于第一壳体31与第二壳体32的盖合,另一方面使第二振膜24具有最大尺寸,以获得最大的有效振动面积,满足高性能需求。同时,磁路系统1设置于第二壳体32,第一振膜21、中间隔膜23以及音圈22设置于第一壳体31,且第二振膜24夹设于第一壳体31与第二壳体32,如此设置,此结构在适用于第二振膜24不同振幅要求的扬声器100时,仅需调整第一壳体31以及第二壳体32的高度,而无需细化调整外壳3上的安装结构的点位,即在调整其两者高度时,即可调整被夹持的第二振膜24与中间隔膜23的距离,以实现适用于不同的第二振膜24振幅,更具适用性。可以理解地,刚性连接件25为不锈钢等金属材质或者碳纤维等具有一定强度的高分子材料。
具体地,音圈22设置于磁间隙1a,得以在电力控制下进行振动,而音圈22旨在与第一振膜21以及第二振膜24连接,使得音圈22振动时可同时带动第一振膜21与第二振膜24振动,以形成振动系统2的双振膜结构,使得第一振膜21通过第一出声空间4a发声,第二振膜24通过第二出声腔6a发声,而其两者公用一后出声腔,如此,有效提高了振动系统2的有效振动面积,进而在同尺寸的扬声器100结构中,本申请所提出的扬声器100具有更好的声学性能,而在相同声学性能的基础上,本申请所提出的扬声器100结构又可具有更小的结构尺寸,故而获得本申请所提出的小尺寸高性能的扬声器100,满足需求。而中间隔膜23同样与音圈22连接已于上文进行了描述,在此不再一一赘述。
可以理解的是,本申请将第二振膜24设置为第二折环241与第二振动板242的组合结构,且将第二振动板242设置为具有弯折部2422,以朝向中间隔膜23延伸,与中间隔膜23的内周侧连接,一方面第二振动板242可作为中间隔膜23与第二振膜24的连接密封件,限定出位于中间隔膜23与第二振膜24之间的第二出声腔6a,另一方面作为驱动连接件连接音圈22,以带动中间隔膜23与第二折环241振动,满足以上的发声振动需求,且通过第二振动板242连接中间隔膜23,无需中间隔膜23与音圈22连接,简化中间隔膜23的安装布置结构。
此外,第二振膜24与音圈22的连接方式可以是设置独立的连接件进行连接,也可以是调整第二振膜24的主体结构,由其主体结构直接进行连接,本实施例中为设置独立的刚性连接件25进行连接,以便于结构布置以及产品组装,具体地,刚性连接件25与音圈22的连接点位实际可不作限定,能够联动音圈22与第二振膜24振动即可,即可以是连接于音圈22的侧向,但如此设置,刚性连接件25将占用磁间隙1a的宽度且影响磁间隙1a内作用于音圈22的磁场,使得影响音圈22的振动性能,进而影响扬声器100的发声性能,故本实施例中,将刚性连接件25设置于音圈22远离第一振膜21的一端,以避免刚性连接件25位于音圈22侧向占用磁间隙1a的宽度且影响磁间隙1a内作用于音圈22的磁场。
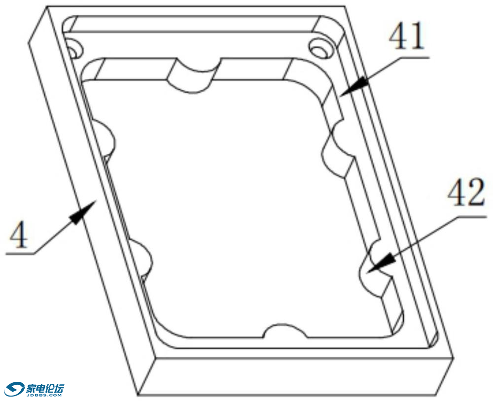
其中,中间隔膜23为柔性件,中间隔膜23的有效振动面积小于第二振膜24的有效振动面积。可以理解的是,第二振膜24与中间隔膜23之间限定出的第二出声腔6a,第二振膜24在振动过程中提供与第一振膜21辐射的声波相同相位的声波,而中间隔膜23随动于第二振膜24在振动过程中提供与第一振膜21辐射的声波相反相位的声波,即削弱第二出声腔6a的发声性能,故在满足结构功能需求的基础上,应当将中间隔膜23的有效振动面积设置为小于第二振膜24的有效振动面积,可以使得第二出声腔6a的声波与第一出声空间4a的声波相位相同且正向叠加,提升扬声器100的FR(频率响应)。而具体地,本申请一实施例中将中间隔膜23的有效振动面积与第二振膜24的有效振动面积之比限定在1:3至1:1.5之间,避免其比值过大时,中间隔膜23的尺寸过大而对第二出声腔6a的发声性能影响大,同时避免其比值过小时,中间隔膜23的尺寸过小而需要满足较大振幅,使得其材质的柔性程度要求高,进而导致其成本高的问题。
进一步可选地,在沿第一方向的投影中,中间隔膜23的形变部231的宽度大于等于第二折环241的形变部的宽度。
可以理解的是,中间隔膜23的形变部231的宽度大于等于第二折环241的形变部的宽度,有助于提升中间隔膜23的顺性,避免中间隔膜23在随动过程中阻碍对第二振膜24的振动;另一方面,中间隔膜23的外连接部与外壳3形成固定端,只有内连接部为自由端,因此中间隔膜23在振动过程中的有效振动面积较小;同时,第二振膜24包括柔性材质制成的第二折环241和刚性材质制成的第二振动板242,第二振动板242的两端均为自由端,其沿第一方向的投影尺寸即为其有效振动面积,相比于第二折环241(其有效振动面积的计算同中间隔膜23),第二振动板242对第二振膜24的有效振动面积贡献较大。此时,第二折环241的形变部的宽度小于中间隔膜23的形变部231的宽度,则第二振动板242的尺寸得到增大,第二振膜24的有效振动面积得到增加,有效提升第二振膜24的振动性能。
而具体地,在本申请的另一实施例中,将中间隔膜23的形变部231的宽度与第二振膜24的形变部的宽度之比限定在1:1至3:1之间。在此范围内,第二振膜24的振动性能以及第二出声腔6a的发声性能更好。
进一步地,第一振膜21包括第一折环211和第一振动板212,第一折环211的外边缘与外壳3连接,第一折环211的内边缘与第一振动板212连接,第二折环241的顺性和第一折环211的顺性均小于中间隔膜23的顺性。
可以理解的是,中间隔膜23的顺性大于第二折环241的顺性和第一折环211的顺性,此时,中间隔膜23只起到隔离密封的作用,不会对第一振膜21和第二振膜24的振动性能产生影响,提升了扬声器的低频灵敏度。
上述各实施方式中,第一振动板212和第二振动板242可以是镁铝合金、镁锂合金等金属材质。中间隔膜23为单层PEEK(聚醚醚酮)膜、复合PEEK(聚醚醚酮)膜等柔性材质,第一折环211和第二折环241的材质可以与中间隔膜23相同或者不同,使用中根据实际需求选择。
进一步地,第一壳体31包括主体段311以及弯折段312,主体段311呈环形设置;弯折段312位于主体段311背离第二壳体32的一端且朝向主体段311的内侧延伸,第一振膜21的外周侧与中间隔膜23的外周侧固定于弯折段312远离主体段311的一端的两侧;其中,第二出声孔7设于主体段311或者弯折段312。为满足中间隔膜23与第二振膜24相对尺寸需求,本实施例中在主体段311的一端弯折设置弯折段312,以使得中间隔膜23的固定点位相对于第二振膜24向内延伸,以满足结构尺寸需求,在此基础上,连通第二出声腔6a的第二出声孔7可以是设置于主体段311,也可以是设置于弯折段312,具体设置点位以扬声器100的实际使用需求为主,在此不作具体限定。
进一步地,在第二出声孔7具体位置设置的一实施例中,第二出声孔7设于主体段311,对应的,第一振膜21的外周侧与中间隔膜23的外周侧固定于弯折段312远离主体段311的一端的两侧或者中间隔膜23的外周侧夹设于第一振膜21的外周侧和弯折段312之间。
此外,在第二出声孔7具体位置设置的另一实施例中,第二出声孔7设于弯折段312,第一壳体31还包括与弯折段312远离主体段311的一端连接的连接框313,第一振膜21的外周侧连接于连接框313的一端,中间隔膜23的外周侧连接于连接框313的另一端或者弯折段312。
此外,第一振膜21的外周侧设有与第一壳体31连接的第一翻边;第二振膜24的外周侧设有与第一壳体31连接的第二翻边。如此,通过第一翻边增加第一振膜21与第一壳体31的接触面积,以及通过第二翻边增加第二振膜24与第一壳体31的接触面积,以此提升连接稳定性,同时提升其防水能力。
此外,请参阅图1至图5以及图18,磁路系统1包括磁轭14、中心磁体11以及外围磁体12,中心磁体11设于磁轭14上;外围磁体12设于磁轭14上且位于中心磁体11的外围,且外围磁体12与中心磁体11之间限定出磁间隙1a,外围磁体12设置有供刚性连接件25穿设的让位孔13;其中,磁轭14对应于刚性连接件25的位置开设有避让槽141。一般的,磁路系统1会配套设置有磁轭14,尤其是小体积紧凑电子产品内的磁路系统1,以避免磁场外露影响外部电子元器件的正常工作,本实施例中在中心磁体11背离第一振膜21的一端设置有磁轭14,即中心磁体11与外围磁体12均固定于磁轭14上,在此基础上,因刚性连接件25固定于音圈22背离第一振膜21的一端,在音圈22振动时,刚性连接件25具有靠近磁轭14的活动行程,本实施例中为进一步降低扬声器100的高度尺寸,在磁轭14上开设避让槽141,以避让刚性连接件25,以此可以减小磁轭14端面距离刚性连接件25下端的距离,进而减小扬声器100的高度尺寸。
进一步地,请参阅图5,避让槽141为贯穿磁轭14的通孔。一方面,避让槽141贯设于磁轭14,可以给与刚性连接件25最大的避让尺寸,得以尽可能的缩小扬声器100的高度尺寸,满足本申请所需结构设置,另一方面,避让槽141贯穿磁轭14,以使得第一振膜21与中间隔膜23限定的后音腔以及第二振膜24与磁轭14限定的后音腔得以与外部连通,避免后音腔封闭,进而避免其内部气体在音圈22带动第一振膜21、第二振膜24以及中间隔膜23振动时形成气压阻碍第一振膜21、第二振膜24以及中间隔膜23的活动,以避免其影响扬声器100的性能。此处需要注意的是,一般会在外壳3上开设连通上述后音腔的开孔,本实施例中直接利用贯设于磁轭14的避让槽141,简化扬声器100结构。
此处需要注意的是,基于上文描述的第二壳体32结构以及磁轭14结构,可以理解的是,磁轭14可以是固定于第二壳体32内部,也可以是将第二壳体32设置为环形结构以环设固定于磁轭14,通过磁轭14完成扬声器100一端的封闭,本实施例中为将磁轭14与环形结构的第二壳体32组合,如此,简化结构降低了成本。
此外,第一壳体31和第二壳体32为金属壳体,磁轭14和第二壳体32一体成型,第一壳体31和第二壳体32之间焊接连接;或者,第一壳体31为金属壳体,磁轭14和第一壳体31焊接连接。可以理解的是,磁轭14可以作为外壳3的一部分,也可独立于外壳3设置,能够实现其自身阻挡磁场的功能即可。因此,在本申请的一部分实施例中,磁轭14可与第二壳体32一体成型设置,再由第二壳体32与第一壳体31连接,以实现磁轭14的安装,而在本申请的另一部分实施例中,磁轭14可与第一壳体31焊接连接,以形成完整的外壳3,即由磁轭14作为第二壳体32,与第一壳体31组合形成外壳3,其具体设置方式以实际需求为主,在此不作具体限制。此外,在将磁轭14作为第二壳体32的实施例中,磁轭14具有向第一壳体31延伸的焊接凸起;或者,第一壳体31具有向磁轭14延伸的焊接凸起;或者,通过焊接片实现第一壳体31与磁轭14的焊接连接,以能够将磁轭14与第一壳体31稳定连接即可,在此同样不作具体限定。
此外,弯折部2422包括与第一方向呈夹角设置的倾斜段2422a,倾斜段2422a与主体部2421连接。第二振动板242旨在与刚性连接件25连接的同时,可以朝向第一振膜21弯折,以与中间隔膜23连接,故弯折部2422的具体设置结构在此不作限定,能够实现弯折后朝向第一振膜21延伸,并与中间隔膜23连接即可,本实施例中在弯折部2422上设置倾斜段2422a,以使第二振动板242形成多个折弯点位,进而减小单个折弯点位的折弯角度,以便于第二振动板242的结构成型。此外,倾斜段2422a还可以提升第二振动板242在水平方向(即垂直于振动系统的振动方向)上的刚性,进而提升第二振膜24的振动性能,且提高第二振动板242成型的可行性,且倾斜段2422a还便于第二振动板242与第二折环241的定位连接,以提升连接精度。
进一步地,请参阅图13至图14磁路系统1具有对应于倾斜段2422a的扩展部,扩展部的外边缘与倾斜段2422a在第一方向上的距离大于第二振动板的振幅。倾斜段2422a相对于第二振动板242的内边缘更加远离磁路系统1,基于此,磁路系统1可在对应于倾斜段2422a的部位设置扩展部,在保障扩展部的外边缘与倾斜段2422a在第一方向上的距离大于第二振动板242的振幅的基础上,扩展部使得磁路系统1的外边缘向外倾斜扩展,从而增大了磁路系统1的尺寸,进一步提升了扬声器100的BL值,提升了扬声器100的发声效果。
此外,第一振膜的外周侧设有与第一壳体连接的第一翻边;第二振膜的外周侧设有与第一壳体连接的第二翻边。如此,通过第一翻边增加第一振膜与第一壳体的接触面积,以及通过第二翻边增加第二振膜与第一壳体的接触面积,以此提升连接稳定性,同时提升其防水能力。
此外,中间隔膜23包括形变部231,形变部231朝向第二振膜24凸出设置。中间隔膜23包括形变部231已于上文进行了描述,在此不再一一赘述,而形变部231可以是朝向第一振膜21凸出设置,也可以是朝向第二振膜24凸出设置,其均满足功能需求,本实施例中将形变部231设置为朝向第二振膜24凸出设置,以此避免对第一振膜21振动行程的影响,即避免对第一振膜21的振动发声造成干涉,以此使得第一振膜21与中间隔膜23之间的距离可以缩小,从而达到减小扬声器100在第一方向上的尺寸的轻薄化结构设计目的。
进一步地,第一振膜21包括第一折环211,第一折环211朝向中间隔膜23凸出设置。因形变部231朝向第二振膜24凸出设置,以使得形变部231不干涉中间隔膜23与第一振膜21之间的空间,为进一步使扬声器100轻薄化,本实施例中将第一振膜21上设置的第一折环211设置为朝向中间隔膜23凸出设置,以利用第一振膜21与中间隔膜23之间的间隔容置凸出的第一折环211,实现降低扬声器100高度尺寸的目的。
进一步地,形变部231与第一折环211的形变部相对设置。基于以上所描述的第一折环211与形变部231的结构,本实施例限定了形变部231与第一折环211的相对位置关系,具体地,形变部231朝向第二振膜24凸出设置时,其朝向第一振膜21的一侧必定形成有凹槽,而本实施例将第一折环211与形变部231相对设置,一方面通过该凹槽对第一折环211的振动进行避让,以避免结构干涉,另一方面可进一步降低第一振膜21与中间隔膜23的间隔,以此进一步降低扬声器100高度尺寸,实现更进一步的轻薄化设计需求。
此外,第二折环241朝向中间隔膜23的一侧凸出设置,第二折环241与形变部231在第二方向上错位设置,第二方向垂直于第一方向。为避免第二折环241对第二振膜24背对中间隔膜23一侧的空间的侵占,以避免可能的结构干涉情况,本申请将第二折环241设置为朝向中间隔膜23凸出,同时,结合形变部231朝向第二振膜24凸出设置的结构基础,本实施例将第二折环241与形变部231错位设置,以避免其两者相对干涉而导致扬声器100高度增大的情况,进一步满足轻薄化结构设置需求。
此外,第一壳体31与第一振膜21的第一侧之间限定第一出声空间4a;或者,第一壳体31与第一振膜21的第一侧对应的一端呈开口设置。可以理解的是,第一振膜21可以是位于外壳3的端部,即外壳3的一端呈开口设置,以在扬声器100应用于其他设备内时,通过其他设备与外壳3限定出第一出声空间4a,以无需外壳3与第一振膜21围合限定出第一出声空间4a,简化结构。而相对的,第一振膜21也可安装于外壳3内,以使得第一振膜21与外壳3限定出第一出声空间4a。以上两种设置方式均能满足扬声器100的发声功能需求,以扬声器100的实际使用场景以及使用需求为主,在此不作具体限定。
此外,请参阅图15至图16以及图19至图20,在外壳3与第一振膜21的第一侧对应的一端呈开口设置的结构实施例的基础上,本申请还提出一种实施例,即扬声器100还包括壳罩10,通过壳罩10罩设于外壳3的开口端,以在第一振膜21的第一侧与壳罩10之间限定出第一出声空间4a,壳罩10设有连通第一出声空间4a的第一出声孔5。
此外,第一出声孔5与第二出声孔7正对且连通,第二出声腔6a的声波经第二出声孔7和第一出声孔5向外界辐射;或者,第二出声孔7开设于外壳3对应于第一出声空间4a的位置,以连通第一出声空间4a与第二出声腔6a。基于本申请所提出的扬声器100结构,其形成有第一出声空间4a与第二出声腔6a的双腔结构,故对应于第一出声空间4a的第一出声孔5与对应于第二出声腔6a的第二出声孔7可以相对设置,也可以独立设置,以实际结构需求为主,具体地,将第一出声孔5与第二出声孔7相对设置时,第一出声空间4a和第二出声腔6a独立设置,第二出声腔6a的声波经第二出声孔7和第一出声孔5向外界辐射,而将第一出声孔5与第二出声孔7独立设置时,仅需保障第二出声孔7对应于第一出声空间4a设置,第二出声腔6a的声波经第二出声孔7、第一出声空间4a与第一出声孔7向外辐射。
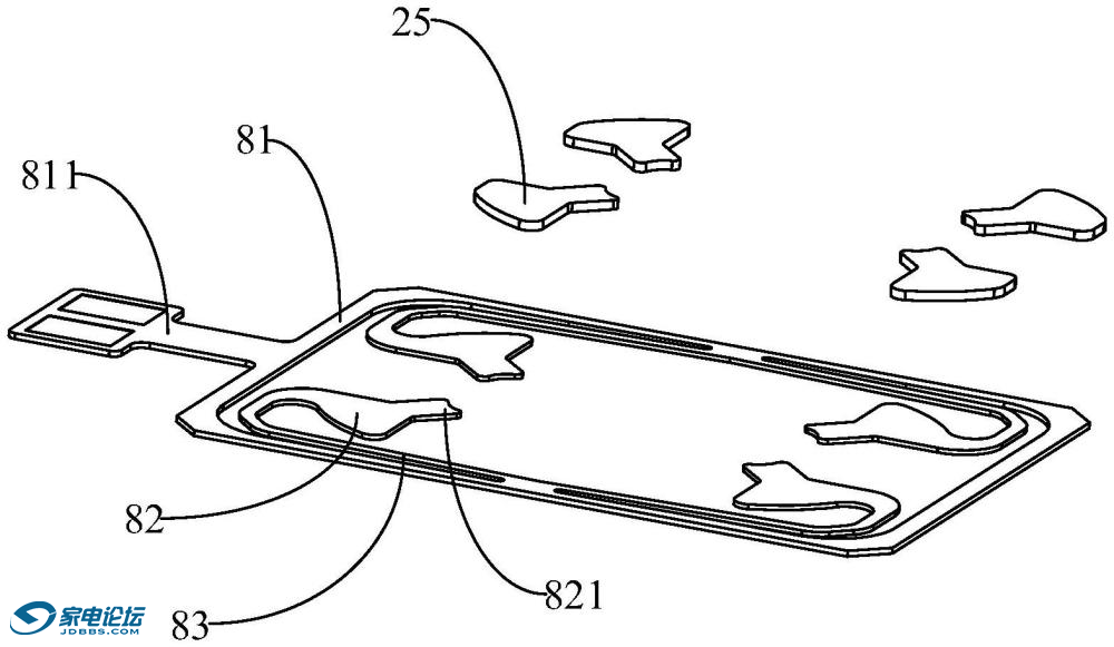
此外,请参阅图6至图8,扬声器100还包括弹性支撑件8,弹性支撑件8包括外固定部81、内固定部82以及连接外固定部81和内固定部82的弹臂83,外固定部81连接于外壳3,且其上设置有第一电连部811,内固定部82支撑连接于第二振动板242和音圈22,且内固定部82上设置有与音圈22电连接的第二电连部821。可以理解的是,为实现音圈22在磁间隙1a内按一定振动需求振动,从而发出所需声音,音圈22需要连接电讯号,即需要设置电连件连接音圈22与扬声器100外部信号源,具体地,该电连件的设置方式可以为多种,例如可以是柔性导线结构,也可以是沿其振动方向布设的可与音圈22同步活动的刚性连接结构,在此不作具体限定,能够实现音圈22与外部信号源连通即可,而本实施例中设置有弹性支撑件8,一方面通过弹性支撑件8连通音圈22与外部信号源,另一方面通过弹性支撑件8的设置实现第二振膜24振动系统2在第一方向即振动方向上的约束,能更好的抑制大振幅下偏振导致的性能不良,具体地,由弹臂83连接的内固定部82与外固定部81,外固定部81固定于外壳3,内固定部82固定于音圈22与第二振膜24之间,以通过弹臂83自身弹性实现上述的约束效果,同时在外固定部81上设置与外部信号源连接的第一电连部811,以及在内固定部82上设置与音圈22连接的第二电连部821,通过弹臂83、内固定部82以及外固定部81的导电性,实现对第一电连部811与第二电连部821的导通,以此满足以上的结构功能需求。
具体地,外固定部81呈环形设置,内固定部82设置在外固定部81的内侧,且通过弹臂83与外固定部81的内侧连接,外固定部81以及内固定部82的结构设置在此不作具体限定,能够满足弹臂83连接,以起到以上描述的约束效果,同时电连第一电连部811与第二电连部821即可,而本实施例中将外固定部81设置为环形结构,以此与外壳3稳定配合,提升弹性支撑件8的连接与支撑稳定性,基于此,弹臂83连接内固定部82与外固定部81的内侧即可,且依据环形设置的外固定部81结构以及其带来的结构稳定性,弹臂83可沿外固定部81的内沿延伸,以增加弹臂83的长度,进而提升第二振膜24大振幅工作时的可靠性,即,将外固定部81设置为具有交替连接的短轴边和长轴边,弹臂83由内固定部82对应短轴边的一侧引出且弯折后沿着长轴边延伸,弹臂83连接于长轴边的中心区域,以此增加了弹臂83的长度,提升其应力,以提升可靠性。
此外,内固定部82包括本体部和由本体部朝向音圈22延伸的延伸部,本体部与第二振动板242连接,延伸部与音圈22连接,延伸部或者本体部上设有第二电连部821,第二电连部821在内固定部82上的设置点位可不作限定,而内固定部82用于连接第二振动板242与音圈22,即内固定部82至少包括用于与第二振动板242连接的本体部、以及自本体部延伸至连接音圈的延伸部,第二电连部821可设置于本体部也可以设置于延伸部,且第二电连部821在本体部或延伸部上的具体设置点位同样不作限定,满足功能需求即可。
此外,第一电连部811用于连通外部信号源已于上文进行了描述,故本实施例中还将第一电连部811设在外固定部81的外周侧,一方面便于第一电连部811伸出外壳3,另一方面固定于外壳3,结构稳定性强,当然,第一电连部811也可通过设置其他连接结构连接其与外部信号源,如此使得对第一电连部811的设置位置不作限定,同样能够实现电连功能,但显然较为繁琐,不实用。
进一步地,刚性连接件25连接在内固定部82背对第二振膜24的一侧。内固定部82与刚性连接件25可以是相互独立的结构,即其两者分别连接音圈22与第二振膜24,也可以是具有一定的相对位置关系,本实施例中考虑到内固定部82与刚性连接件25的连接支撑功能相同,故将刚性连接件25与内固定部82相连接,以共同连接音圈22与第二振膜24,以此得以通过刚性连接件25加强内固定部82与音圈22的连接结构,进而保障了内固定部82上的第二电连部821与音圈22的电性连接稳定性。同时,将内固定部82夹设于刚性连接件25与音圈22之间,使得内固定部82与磁路系统1之间的距离增加,第二电连部821设置在内固定部82背离刚性连接件25的一侧,音圈22的引线与第二电连部821点焊连接,如此只需要设置磁路系统1的局部对刚性连接件25进行避让,减少对音圈22的引线的避让,有利于薄型化设置。
此外,请参阅图1至图4以及图18,磁路系统1包括中心磁体11以及外围磁体12,外围磁体12设置在中心磁体11的外围,且与中心磁体11之间限定出磁间隙1a;其中,外围磁体12设置有供弹性支撑件8和刚性连接件25穿设的让位孔13。中心磁体11与外围磁体12之间形成音圈22振动所需的磁场环境,一般的,外围磁体12由多个磁体组成,以分设于中心磁体11的周侧,多个磁体之间存在间隔,以形成让位孔13,弹性支撑件8与刚性连接件25得以自让位孔13伸入磁间隙1a内与音圈22连接,满足结构功能需求。
进一步地,请参阅图9至图11,在一实施例中,中间隔膜23具有延伸至让位孔13的第一延伸部232,第二振动板242具有延伸至让位孔13的第二延伸部2423,第一延伸部232和第二延伸部2423相对应连接。如此设置,一方面利用让位孔13处空间,进一步增大第二振动板242的尺寸以及第二振动板242与中间隔膜23围合的第二出声腔6a的腔体尺寸,以在不增加扬声器100的高度尺寸的基础上,进一步提升发声效果,另一方面,通过设置第一延伸部232与第二延伸部2423,还提升了中间隔膜23与第二振动板242的结构强度。
此外,请参阅图12至图14,在另一实施例中,音圈22具有延伸至让位孔13的第一凸出部221,中心磁体11具有延伸至让位孔13的第二凸出部111,第一凸出部221和第二凸出部111相对应设置。与上述实施例中设置第一延伸部232与第二延伸部2423以利用让位孔13处空间的方案不同,本实施例中通过设置第一凸出部221与第二凸出部111以利用让位孔处的空间,如此设置,中心磁体11的外围周长变大,以使得位于中心磁体11外的音圈22的导线长度变长,且磁间隙1a处的磁场强度变强,进而提升了扬声器100的BL值(磁隙磁场强度B和音圈导线长度L的乘积),以此使得扬声器100具有更好的瞬态响应和更高的灵敏度,使声音更加清晰、自然。
进一步地,请参阅图6至图8,外固定部81和第二振膜24的外周侧夹设在第一壳体31和第二壳体32之间。弹性支撑件8的具体结构已于上文进行了详细描述,在此不再一一赘述,基于以上描述的,音圈22以及第二振膜24固定于第一壳体31,则连接于音圈22与第二振膜24的弹性支撑件8也应优先固定于第一壳体31后,再与第二壳体32盖合完成扬声器100的组装,此时,基于第二振膜24位于第一壳体31与第二壳体32之间的结构设置,弹性支撑件8的外固定部81上的第一电连部811需要伸出外壳3设置,故本实施例中将外固定部81设置为夹持于第二振膜24与第二壳体32之间,以便于第一电连部811的布设。
此外,请参阅图1至图4以及图18,第一振膜21包括第一折环211和第一振动板212,第一折环211的外周侧与外壳3连接,第一折环211的内周侧与第一振动板212连接;第一振动板212一体设有凸起部与音圈22连接;或者,音圈22的端部固定有连接板9,连接板9连接音圈22与第一振动板212。第一振膜21与音圈22的连接方式可以不作限定,即可以是第一振膜21直接与音圈22连接,也可以是通过连接板9进行连接,实际以第一振膜21的结构尺寸以及第一振膜21与音圈22之间的距离为主,能够将第一振膜21连接于音圈22,且保障其封闭即可。
请参阅图17以及图21,本申请还提出一种电子设备1000,其中,电子设备1000包括腔体200以及扬声器100,腔体200开设有电子设备出声孔201;扬声器100的具体结构参照上述实施例,由于电子设备1000采用了上述所有实施例的全部技术方案,因此至少具有上述实施例的技术方案所带来的所有有益效果,在此不再一一赘述,第一出声空间4a与第二出声腔6a均与电子设备出声孔201连通。
具体地,第一振膜21与中间隔膜23之间限定出第一后出声腔4b,第二振膜24背离中间隔膜23的一侧限定第二后出声腔6b,第一后出声腔4b与第二后出声腔6b连通,扬声器100设有后出声通道101,第一后出声腔4b以及第二后出声腔6b通过后出声通道101与腔体200连通,且腔体200的有效容积≥2.5cc。
在本申请的电子设备中,通过后出声通道101连通扬声器100的后出声腔(第一后出声腔4b和第二后出声腔6b)与电子设备的腔体200,利用电子设备的腔体200扩展扬声器100的后出声腔的空间,有利于后出声腔声波的扩散,减小振动系统2在有效振动面积增大的情况下在振动过程中压缩后出声腔的空气受到的反作用力,从而可以实现振动系统2的大振幅振动,提升扬声器100的音质;并且,较大的腔体200容积可以提供更好的散热空间,有助于降低扬声器100的温度,从而提高其稳定性和使用寿命。
基于以上描述的扬声器100的具体结构,第一后出声腔4b与第二后出声腔6b连通,后出声通道101可以设置在扬声器100的外壳3上或者磁路系统1上。当后出声通道101设置在磁路系统1上时,后出声通道101为贯穿磁轭14的通孔,当然,也可以采用其他的方式使得后出声腔与腔体200连通,在此不作具体限定。基于此,为避免与第一后出声腔4b以及第二后出声腔6b连通的封闭的腔体200内不流通的空气在扬声器100发声振动时阻碍其振动发声,需将腔体200的有效容积设置为不小于2.5cc,以减小以致消除影响,满足电子设备1000的发声性能。
以上仅为本实用新型的示例性的实施方式,并非因此限制本实用新型的专利范围,凡是在本实用新型的技术构思下,利用本实用新型说明书及附图内容所作的等效结构变换,或直接/间接运用在其他相关的技术领域均包括在本实用新型的专利保护范围内。
文献来源:https://pss-system.cponline.cnip ... revPageTit=changgui
|
|